优时颜洗面奶的成分表是什么?优时颜洗面奶成分是安全的吗?优时颜洗面奶价格是多少?洗面奶应该怎么辨别真假?
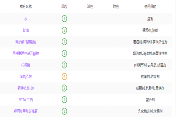
优时颜洗面奶成分表

优时颜洗面奶安全吗
总的来说还是比较安全的,可以放心购买。
该款优能平衡洁面乳含有香精成分:0种
该款优能平衡洁面乳含有防腐剂成分:1种(苯氧乙醇)
该款优能平衡洁面乳含有风险成分:0种
该款优能平衡洁面乳含有致痘风险成分:0种
该款优能平衡洁面乳含有孕妇慎用成分:0种

优时颜洗面奶价格
在天猫上面的价格是150元享有100克送25克,想要的朋友可以自行在网上进行购买。

怎么辨别洗面奶真假
1、在购买洗面奶的时候,有条件允许的情况下,尽量到可以使用的专柜购买。在试用的时候,挤出一点放在手心里,观察光泽感,如果挤出来的时候,液体是没有光泽或者是很灰暗的颜色,多数就是假冒产品。
2、正品的洗面奶,打开的时候,可以用鼻子闻一下,一般情况下,会散发出淡淡的清香味到,但如果是假冒的洗面奶,有可能会出现不适感,有刺激性的味道。如果味道过于香浓,也很大可能是假冒产品,因为添加了过多的香精去吸引顾客购买。
3、观察包装。在包装外面,会印有品牌的LOGO及说明。正品的包装印刷会让人觉得很有质感,而当看到字体模糊,印刷不清晰,没有生产日期或者生产批号的洗面奶,尽量不要购买。
4、观察泡泡。洗面奶一般在清洗的过程中,都会起泡泡的,真的洗面奶,会呈现均匀的小泡泡,当看到的是过于大的泡泡,是不利于深层清洁皮肤的,有可能是假冒洗面奶。